SOCKETS

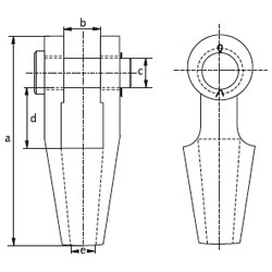
OPEN WEDGE SOCKETS ACCORDING TO DIN 15315
- Details Details

- Material:
Housing:
- Nominal size 5–14 (GTW 40) according to (DIN 1692) EN 1562,
- Nominal size 17–20 (GTS 35) according to (DIN 1692) EN 1562,
- Nominal size 25–40 (E-GS-52) according to (DIN 1692) EN 1562
Wedges:
- GG–18 according to (DIN 1691) EN 1561 - Surface finish: ungalvanised
size wire rope diameterl
mmb
mme
mms1
mms2
mmd
mmr
mmh1
mmh2
mmw
mmweight per piece
in kg5 4−5 12 14 3 — 10 12 68 110 19 0,17 8 6−8 14 20 4 — 12 18 92 150 25 0,5 11 9−11 17 26 6 — 16 23 117 190 32 1,04 14 12−14 22 32 8 — 18 28 141 230 38 2,07 17 15−17 25 36 10 — 22 32 162 260 46 3,66 20 18−20 27 40 12 — 25 35 186 300 52 5,35 25 22−25 33 40 12 — 40 44 180 285 60 6,22 30 26−30 40 55 14 22 50 55 182 335 62 10,1 35 31−35 44 60 27 35 55 60 207 390 68 23,64 40 36−40 50 70 29 37 60 65 231 460 70 33 size wire rope diameterl
mmb
mme
mms1
mms2
mmd
mmr
mmh1
mmh2
mmw
mmweight per piece
in kg5 4−5 12 14 3 — 10 12 68 110 19 0,17 8 6−8 14 20 4 — 12 18 92 150 25 0,5 11 9−11 17 26 6 — 16 23 117 190 32 1,04 14 12−14 22 32 8 — 18 28 141 230 38 2,07 17 15−17 25 36 10 — 22 32 162 260 46 3,66 20 18−20 27 40 12 — 25 35 186 300 52 5,35 25 22−25 33 40 12 — 40 44 180 285 60 6,22 30 26−30 40 55 14 22 50 55 182 335 62 10,1 35 31−35 44 60 27 35 55 60 207 390 68 23,64 40 36−40 50 70 29 37 60 65 231 460 70 33 - Material:

OPEN WEDGE SOCKETS ACCORDING TO DIN 43148
- Details Details
- Material:
Housing:
- Up to rope diameter 12–15 (GTW 40) according to (DIN 1692) EN 1562,
- Up to rope diameter 16–20 (GS 60.1) according to (DIN 1681) EN 1562
Wedges:
- GTW 40 according to (DIN 1692) EN 1562 - Surface finish: Hot-dipped galvanised
size wire rope diameter
mmAnzahl der Kernlöcher im Keil Nutzlast Bruchlast
kpb
mme
mms
mmd
mmr
mmh1
mmh2
mmw
mmweight per piece
in kg6−7 3 500 6.000 14 20 6 14 17,5 93,5 150 30 0,755 8 2 500 6.000 14 20 6 14 17,5 85,5 150 24 0,695 9−12 1 500 6.000 14 20 6 14 17,5 80 150 20 0,655 10−12 2 1.000 8.000 16 22 7 17 18 85,5 162 24 0,82 12−14 1 1.000 8.000 16 22 7 17 18 80 162 20 0,78 12−15 0 2.500 15.000 17 28 10 20 25 110 218 36 2,56 16−20 0 4.000 25.000 24 35 14 25 30 141,5 250 51 5,04 21−26 0 7.000 60.000 30 45 18 34 40 204 370 68 12,36 27−32 0 10.000 100.000 36 61 27 50 56 230 426 80 28 size wire rope diameter
mmAnzahl der Kernlöcher im Keil Nutzlast Bruchlast
kpb
mme
mms
mmd
mmr
mmh1
mmh2
mmw
mmweight per piece
in kg6−7 3 500 6.000 14 20 6 14 17,5 93,5 150 30 0,755 8 2 500 6.000 14 20 6 14 17,5 85,5 150 24 0,695 9−12 1 500 6.000 14 20 6 14 17,5 80 150 20 0,655 10−12 2 1.000 8.000 16 22 7 17 18 85,5 162 24 0,82 12−14 1 1.000 8.000 16 22 7 17 18 80 162 20 0,78 12−15 0 2.500 15.000 17 28 10 20 25 110 218 36 2,56 16−20 0 4.000 25.000 24 35 14 25 30 141,5 250 51 5,04 21−26 0 7.000 60.000 30 45 18 34 40 204 370 68 12,36 27−32 0 10.000 100.000 36 61 27 50 56 230 426 80 28 - Material:

CLOSED SPELTER SOCKETS ACCORDING TO DIN 83313
- Details Details
- Type A
- Materialausführung: ungalvanised or galvanised
size swl for wire rope diameter b d1 d2 d3 d4 e1 e2 f h i r weight per piece t von bis mm mm mm mm mm mm mm mm mm mm mm in kg 1 1 10 12 30 14 30 26 45 50 48 15 130 12 2 0,4 1,6 1,6 12 14 37 17 36 30 55 60 57 19 155 15 3 0,71 2,5 2,5 14 18 45 20 42 33 62 69 66 24 182 19 3 1,2 3 3,15 16 20 50 22 47 36 69 78 75 26 202 21 3 1,5 4 4 18 22 54 24 51 40 78 84 81 30 220 24 3 2 5 5 20 24 60 27 57 44 84 94 90 34 245 27 4 3,1 6 6,3 22 28 67 30 64 49 94 106 102 38 275 30 4 4,2 8 8 26 30 73 33 70 54 103 115 111 42 300 33 4 5,8 10 10 28 34 80 36 76 60 112 125 120 45 330 36 5 8 12 12,5 32 38 89 40 85 67 125 140 135 51 370 41 5 11 16 16 36 44 100 45 96 75 140 159 153 56 415 46 6 15 20 20 40 50 110 50 106 84 156 174 168 62 460 50 6 20 25 25 44 54 120 55 116 93 173 190 183 69 505 55 7 27 32 31,5 50 62 132 60 127 104 188 209 201 76 555 61 8 35 40 40 58 72 150 68 144 117 212 237 228 85 630 68 9 50 50 50 62 76 165 75 159 130 235 262 252 94 695 75 10 67 size swl for wire rope diameter b d1 d2 d3 d4 e1 e2 f h i r weight per piece t von bis mm mm mm mm mm mm mm mm mm mm mm in kg 1 1 10 12 30 14 30 26 45 50 48 15 130 12 2 0,4 1,6 1,6 12 14 37 17 36 30 55 60 57 19 155 15 3 0,71 2,5 2,5 14 18 45 20 42 33 62 69 66 24 182 19 3 1,2 3 3,15 16 20 50 22 47 36 69 78 75 26 202 21 3 1,5 4 4 18 22 54 24 51 40 78 84 81 30 220 24 3 2 5 5 20 24 60 27 57 44 84 94 90 34 245 27 4 3,1 6 6,3 22 28 67 30 64 49 94 106 102 38 275 30 4 4,2 8 8 26 30 73 33 70 54 103 115 111 42 300 33 4 5,8 10 10 28 34 80 36 76 60 112 125 120 45 330 36 5 8 12 12,5 32 38 89 40 85 67 125 140 135 51 370 41 5 11 16 16 36 44 100 45 96 75 140 159 153 56 415 46 6 15 20 20 40 50 110 50 106 84 156 174 168 62 460 50 6 20 25 25 44 54 120 55 116 93 173 190 183 69 505 55 7 27 32 31,5 50 62 132 60 127 104 188 209 201 76 555 61 8 35 40 40 58 72 150 68 144 117 212 237 228 85 630 68 9 50 50 50 62 76 165 75 159 130 235 262 252 94 695 75 10 67

GREEN PIN® CLOSED SPELTER SOCKETS
Green Pin Closed Spelter sockets are made of high tensile steel GS21Mn5. They feature a 5x safety factor of WLL to the minimum break load.
- Details Details
Green Pin Closed Spelter sockets are available in a choice of two finishes: painted green or hot-dipped galvanised. Certificates are available upon request.
number wll wire rope diameter length outer width inner bow width inner bow length bow thickness bow thickness opening weight per piece to mm a
mmb
mmc
mmd
mme
mmf
mmg
mmin kg 298 4 11−13 140 51 30 59 17,5 22,5 14 0,7 299 5 14−16 162 67 36 65 21 26 17,5 1,3 200 8 18−19 194 76 42 78 27 32 21 2,1 201 10 20−22 224 92 47 90 33 38 24 3,6 204 12,6 23−26 253 104 57 103 36 44 28 5,3 207 16 27−30 282 114 63 116 39 51 32 7 212 20 31−36 312 127 70 130 43 57 38 9,7 215 25 37−39 358 136 79 155 51 63 41 13 217 32 40−42 390 146 83 171 54 70 44 17 219 40 43−48 443 171 93 198 55 76 51 26 222 50 49−54 502 193 100 224 62 82 57 37,5 224 64 55−60 548 216 112 247 73 92 63 50 226 80 61−68 597 241 140 270 79 102 73 65 227 90 69−75 644 273 159 286 79 124 79 94 228 100 76−80 686 292 171 298 83 133 86 110 229 120 81−86 743 311 184 311 102 146 92 145 230 140 87−93 788 330 197 330 102 159 99 168 231 160 94−102 845 362 216 356 108 178 108 210 233 200 108−115 1.000 405 235 425 125 190 125 330 240 240 120−130 1.110 515 260 475 135 210 138 550 number wll wire rope diameter length outer width inner bow width inner bow length bow thickness bow thickness opening weight per piece to mm a
mmb
mmc
mmd
mme
mmf
mmg
mmin kg 298 4 11−13 140 51 30 59 17,5 22,5 14 0,7 299 5 14−16 162 67 36 65 21 26 17,5 1,3 200 8 18−19 194 76 42 78 27 32 21 2,1 201 10 20−22 224 92 47 90 33 38 24 3,6 204 12,6 23−26 253 104 57 103 36 44 28 5,3 207 16 27−30 282 114 63 116 39 51 32 7 212 20 31−36 312 127 70 130 43 57 38 9,7 215 25 37−39 358 136 79 155 51 63 41 13 217 32 40−42 390 146 83 171 54 70 44 17 219 40 43−48 443 171 93 198 55 76 51 26 222 50 49−54 502 193 100 224 62 82 57 37,5 224 64 55−60 548 216 112 247 73 92 63 50 226 80 61−68 597 241 140 270 79 102 73 65 227 90 69−75 644 273 159 286 79 124 79 94 228 100 76−80 686 292 171 298 83 133 86 110 229 120 81−86 743 311 184 311 102 146 92 145 230 140 87−93 788 330 197 330 102 159 99 168 231 160 94−102 845 362 216 356 108 178 108 210 233 200 108−115 1.000 405 235 425 125 190 125 330 240 240 120−130 1.110 515 260 475 135 210 138 550

GREEN PIN® OPEN SPELTER SOCKETS
Green Pin Open Spelter sockets are made of high tensile steel GS21Mn5. They feature a 5x safety factor of WLL to the maximum break load. Certificates are available upon request.
- Details Details

number WLL wire rope diameter length inner width pin diameter inner length opening weight per piece to mm a
mmb
mmc
mmd
mme
mmin kg 198 4 11−13 142 25 25 38 14 1 199 5 14−16 171 32 30 48 17,5 1,8 100 8 18−19 205 38 35 58 21 3,2 104 10 20−22 235 44 41 68 24 4,6 108 12,6 23−26 275 51 51 75 28 8 111 16 27−30 306 57 57 85 32 11 115 20 31−36 338 63 63 95 38 16 118 25 37−39 394 76 70 127 41 23 120 32 40−42 418 76 76 127 44 27 125 40 43−48 468 89 89 133 51 41 128 50 49−54 552 101 95 180 57 58 130 64 55−60 598 113 108 196 63 85 132 80 61−68 654 127 121 212 73 118 135 90 69−75 696 133 127 215 79 155 138 100 76−80 737 146 133 219 86 173 140 120 81−86 788 159 140 228 92 230 142 140 87−93 852 171 152 242 99 265 144 160 94−102 914 191 178 254 108 370 146 200 108−115 1.145 205 195 382 125 525 150 240 120−130 1.280 225 250 375 138 900 number WLL wire rope diameter length inner width pin diameter inner length opening weight per piece to mm a
mmb
mmc
mmd
mme
mmin kg 198 4 11−13 142 25 25 38 14 1 199 5 14−16 171 32 30 48 17,5 1,8 100 8 18−19 205 38 35 58 21 3,2 104 10 20−22 235 44 41 68 24 4,6 108 12,6 23−26 275 51 51 75 28 8 111 16 27−30 306 57 57 85 32 11 115 20 31−36 338 63 63 95 38 16 118 25 37−39 394 76 70 127 41 23 120 32 40−42 418 76 76 127 44 27 125 40 43−48 468 89 89 133 51 41 128 50 49−54 552 101 95 180 57 58 130 64 55−60 598 113 108 196 63 85 132 80 61−68 654 127 121 212 73 118 135 90 69−75 696 133 127 215 79 155 138 100 76−80 737 146 133 219 86 173 140 120 81−86 788 159 140 228 92 230 142 140 87−93 852 171 152 242 99 265 144 160 94−102 914 191 178 254 108 370 146 200 108−115 1.145 205 195 382 125 525 150 240 120−130 1.280 225 250 375 138 900

DEMAG FITTINGS
DEMAG rope end terminations. Please get in touch with us to discuss your needs.
- Details Details
Contact us – it is our pleasure to advise you.
Tel: +49 (0)4 71 / 9 31 83 - 0
Fax: +49 (0)4 71 / 7 63 27

TERMINALS TO YOUR SPECIFICATIONS
We produce terminals in all sizes and forms according to your specifications. Let us know what you require.
- Details Details
Contact us – it is our pleasure to advise you.
Tel: +49 (0)4 71 / 9 31 83 - 0
Fax: +49 (0)4 71 / 7 63 27
No products found.