
TERMINALS
EYE TERMINALS
-
Details
Details
- The eye terminals are made of rustproof stainless steel.
- Material: 1.4401
- Surfaces feature a polished finish.
wire rope diameter outer diameter inner eye diameter outer eye diameter material thickness at eye length mm a
mmb
mmc
mmd
mme
mm3 6,35 6,4 15,00 5,0 55,5 4 7,50 8,1 18,00 6,0 64,0 5 9,00 9,6 19,50 7,5 72,0 6 12,50 12,8 24,50 10,0 86,0 7 14,20 12,8 27,00 10,0 100,0 8 16,10 16,2 30,50 13,0 112,5 10 17,80 16,2 33,50 14,0 134,0 12 20,00 19,2 40,00 18,0 156,5 wire rope diameter outer diameter inner eye diameter outer eye diameter material thickness at eye length mm a
mmb
mmc
mmd
mme
mm3 6,35 6,4 15,00 5,0 55,5 4 7,50 8,1 18,00 6,0 64,0 5 9,00 9,6 19,50 7,5 72,0 6 12,50 12,8 24,50 10,0 86,0 7 14,20 12,8 27,00 10,0 100,0 8 16,10 16,2 30,50 13,0 112,5 10 17,80 16,2 33,50 14,0 134,0 12 20,00 19,2 40,00 18,0 156,5 Maßabweichnungen und technische Änderungen vorbehalten!
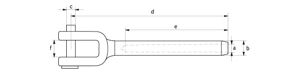
FORK TERMINAL
-
Details
Details
- The fork terminals are made of rustproof stainless steel.
- Material: 1.4401
- Surfaces feature a polished finish.
wire rope diameter inner diameter outer diameter pin diameter length inside length inside jaw width weight per 100 pieces mm a
mmb
mmc
mmd
mme
mmf
mmin kg 3 3,3 6,3 5,2 65 32 7,5 2,3 4 4,3 7,5 6,2 77 40 10 4,9 5 5,3 9 8,7 88 57 12 7,2 6 6,6 12,5 9,7 106 63 14 13,9 7 7,5 14,2 12,6 116 70 14,5 18,1 8 8,3 16 14,6 145 85 16 21,6 10 10,5 17,8 16,5 150 89 17 52 12 12,5 20 19 204 105 25 67 wire rope diameter inner diameter outer diameter pin diameter length inside length inside jaw width weight per 100 pieces mm a
mmb
mmc
mmd
mme
mmf
mmin kg 3 3,3 6,3 5,2 65 32 7,5 2,3 4 4,3 7,5 6,2 77 40 10 4,9 5 5,3 9 8,7 88 57 12 7,2 6 6,6 12,5 9,7 106 63 14 13,9 7 7,5 14,2 12,6 116 70 14,5 18,1 8 8,3 16 14,6 145 85 16 21,6 10 10,5 17,8 16,5 150 89 17 52 12 12,5 20 19 204 105 25 67 Dimensions and technical data subject to change.
STUD TERMINALS
-
Details
Details
- The stud terminals are made of rustproof stainless steel.
- Material: 1.4401
- Surfaces feature a polished finish.
Ø Drahtseil Gewinde-durchmesser Ø innen Ø außen Gesamtlänge Länge Gewicht per 100 Stück mm a
mmb
mmc
mmd
mme
mmin kg 3 m 6 3,3 6,3 100 39 2,7 4 m 8 4,3 7,5 117 45 5,4 5 m 10 5,3 9 130 51 7,8 6 m 12 6,3 12 162 64 15,1 8 m 16 8,3 16 195 76 23,2 10 m 20 10,3 18 230 89 59 Ø Drahtseil Gewinde-durchmesser Ø innen Ø außen Gesamtlänge Länge Gewicht per 100 Stück mm a
mmb
mmc
mmd
mme
mmin kg 3 m 6 3,3 6,3 100 39 2,7 4 m 8 4,3 7,5 117 45 5,4 5 m 10 5,3 9 130 51 7,8 6 m 12 6,3 12 162 64 15,1 8 m 16 8,3 16 195 76 23,2 10 m 20 10,3 18 230 89 59 Dimensions and technical data subject to change.
No products found.